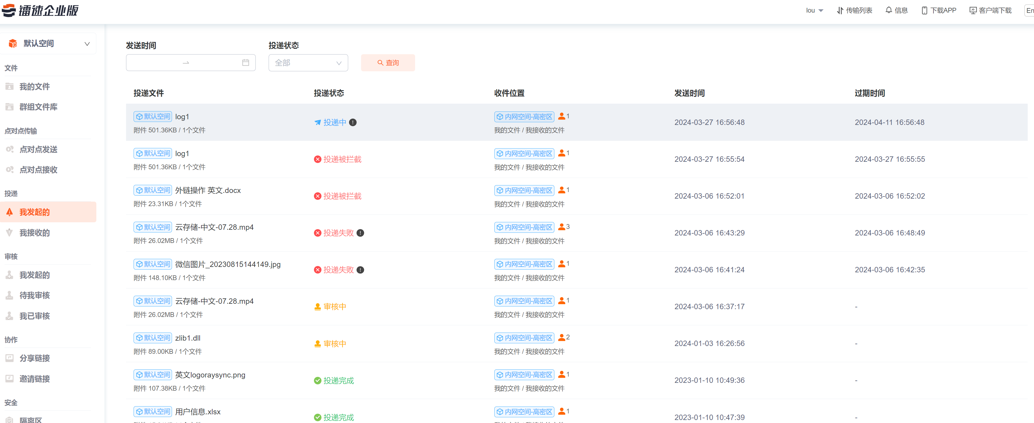
1.1 投递任务查询
点击【我的投递】可查看【我发起的投递】的投递文件、收件位置、发送空间、文件大小、文件数量、投递状态、收件位置、发送时间、过期时间等)

我接受的投递,可支持接受投递和取消接收投递

1.2 投递状态详解
| 投递状态 | 状态详解 |
|---|---|
| 准备中 | 投递任务已经创建,正在准备文件中 |
| 投递中 | 文件正在投递过程中 |
| 审核中 | 投递任务创建完成,文件准备成功,正在等待后台管理人员审核中 |
| 审核未通过 | 后台管理人员审核拒绝,不允许该文件投递 |
| 投递完成 | 文件成功投递至目标空间 |
| 投递失败 | 文件准备失败;投递文件类型被拦截;目标空间禁止传输该类型文件;用户权限不足;用户鉴权失败等 |
| 待接收 | 投递的接收端暂未接收投递 |
| 取消接收 | 投递的接收端取消接收投递 |
